DE
IT
EN
FR
ES
Ein Unternehmen der Bonomi Group
Home
Products
Contacts
Downloads
Nachhaltigkeit
IT
EN
DE
FR
ES
KATALOG
/
SISTEMA PRESSFITTING
/
EDELSTAHL PRESSFITTINGS MIT M-PROFIL
/
ZX0030
EDELSTAHL PRESSFITTINGS MIT M-PROFIL
ZX0030
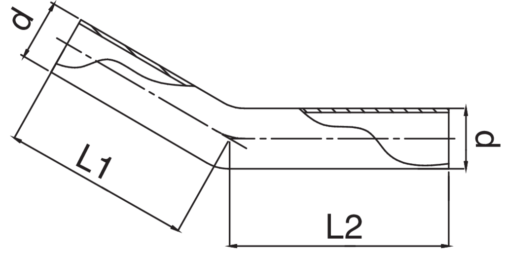
Gebogene Rohrstücke A/A 30°.
Technische Spezifikationen
d
BAG
MASTER BOX
CODE
L1
L2
L3 min
L4 min
15
5
100
ZX0030015015000
60
122
25
25
18
10
100
ZX0030018018000
55
128
25
25
22
5
100
ZX0030022022000
50
124
30
30
28
5
20
ZX0030028028000
54
130
30
30
35
5
15
ZX0030035035000
80
218
30
30
42
2
10
ZX0030042042000
98
274
45
45
54
2
10
ZX0030054054000
137
324
65
65
Anwendungen
Verfügbare Medien und Videos
Katalog
Preisliste
FRABOPRESS - Raccordi a pressare di Rubinetterie Bresciane - Fra.bo Division
Zurück zum Katalog