DE
IT
EN
FR
ES
Ein Unternehmen der Bonomi Group
Home
Products
Contacts
Downloads
Nachhaltigkeit
IT
EN
DE
FR
ES
KATALOG
/
SISTEMA PRESSFITTING
/
PRESSFITTINGSYSTEME TURBO CUNIPRESS
/
5N5400
PRESSFITTINGSYSTEME TURBO CUNIPRESS
5N5400
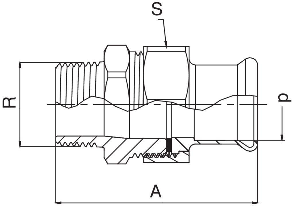
Flansch mit Flachdichtsitz F/Außengewinde.
Technische Spezifikationen
d x R
DN
BAG
MASTER BOX
CODE
A
S1
S2
15 x 1/2''
-
5
50
5N54001504
65,5
30
27
18 x 1/2''
-
5
50
5N54001804
65,5
30
27
22 x 3/4''
-
5
50
5N54002205
77,5
30
27
28 x 1''
-
5
30
5N54002806
87
37
36
35 x 1''1/4
-
1
15
5N54003507
98,5
47
46
42 x 1''1/2
-
1
15
5N54004208
103,5
52
50
54 x 2''
-
1
8
5N54005410
124,5
65
65
Anwendungen
Verfügbare Medien und Videos
Catalogue
Price list
FRABOPRESS - Raccordi a pressare di Rubinetterie Bresciane - Fra.bo Division
Zurück zum Katalog