IT
EN
DE
FR
ES
Un'azienda di Bonomi Group
Home
Prodotti
Contatti
Downloads
Sostenibilità
IT
EN
DE
FR
ES
CATALOGO
/
SISTEMA PRESSFITTING
/
SISTEMA PRESSFITTING PROFILO M DI ACCIAIO INOSSIDABILE
/
AX0042
SISTEMA PRESSFITTING PROFILO M DI ACCIAIO INOSSIDABILE
AX0042
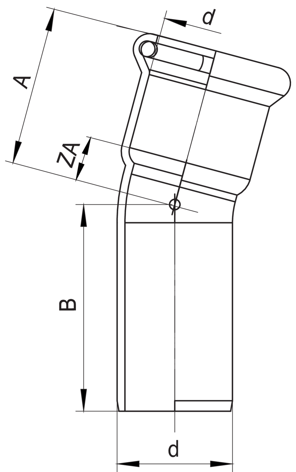
Curva 15° maschio-femmina.
Specifiche tecniche
d
BAG
MASTER BOX
CODICE
L
H
Z
76,1
1
6
AX0042076076000
75,5
83,5
54
88,9
1
6
AX0042089089000
86
94
61
108
1
3
AX0042108108000
109,3
117,3
76
Applicazioni
Video e media disponibili
Catalogo
Listino
Depliant Frabopress
TURBO STEEL INOX LBP - Sistema a pressare Leak Before Press Rubinetterie Bresciane
Torna al catalogo
Prodotti correlati / Accessori
MX0042
Slide 1 of 1.